Облучатели бактерицидные настенные ОБН-75 «Азов» (одноламповый) и ОБН-150 «Азов» (двухламповый) предназначены для обеззараживания воздуха и поверхности в помещениях ультрафиолетовым бактерицидным излучением длиной волны 253,7 нм. Область применения включает лечебные и детские учреждения, помещения организаций продовольственной торговли, общественного питания, производства пищевых продуктов, а также другие общественные и складские помещения. Обладают улучшенным дизайном, покрытием порошковой эмалью для повышения антикоррозийной устойчивости и защитой специальным экраном.
Облучатель медицинский бактерицидный «Азов» ОБН-75 / ОБН-150 Инструкция по применению
.
ПАСПОРТ
Облучатель медицинский бактерицидный «Азов» по ТУ 9444-015-03965956-2008
варианты исполнения: Облучатель медицинский бактерицидный ОБН-75 «Азов», ТУ 9444-015-03965956-2008
Облучатель медицинский бактерицидный ОБН-150 «Азов», ТУ 9444-015-03965956-2008
Производитель: ООО «ЭЛИД»,
Россия, 344091, г. Ростов-на-Дону, пр. Стачки, 247
Регистрационное Удостоверение № ФСР 2009/05399 от 13.04.2020
1. Назначение изделия
Облучатель медицинский бактерицидный ОБН-75 «Азов» и облучатель медицинский бактерицидный ОБН-150 «Азов» настенного исполнения предназначены для обеззараживания воздуха и поверхности в помещениях ультрафиолетовым бактерицидным излучением, длиной волны 253,7 нм.
Область применения – лечебные и детские учреждения (поликлиники, роддома, санатории и др.), а также, при необходимости, промышленные, административные, общественные, складские и домашние помещения.
2. Технические данные и характеристики
| Параметры | ОБН-75 | ОБН-150* | ||
| 1 режим | 2 режим | 3 режим | ||
| Облученность на расстоянии 1 м, не менее, Вт/м² | 0,6 | 0,65 | 0,6 | 1,25 |
| Количество бактерицидных ламп | 1 | 2 | ||
| Источник излучения: Лампа бактерицидная TUV-15W(UV-C) или TUV-30W (UV-С) производства фирмы Philips - срок службы, ч - номинальная мощность лампы, Вт - бактерицидный поток лампы, Вт |
8000 30 11,2 |
|||
| Допускается применение ламп другого типа с аналогичными техническими требованиями | ||||
| Стартеры фирмы Philips | S10(220) | |||
| Коэффициент использования бактерицидного потока, Кф | 0,48 | 0,63 | ||
| Потребляемая мощность, не более, Вт | 65 | 130 | ||
| Номинальное напряжение, В | 220 ± 22 | |||
| Частота, Гц | 50 ± 0,4 | |||
| Класс электробезопасности ГОСТ Р 50267.0-92 | 1 тип В | |||
| Срок службы облучателя, лет | 5 | |||
| Климатическое исполнение, ГОСТ 15150-69 | УХЛ 4.2 | |||
| Габаритные размеры, не более, мм длина х ширина х высота | 942 х 54 х 116 | 942 х 54 х 162 | ||
| Масса, не более, кг | 1,8 | 2,4 | ||
* Примечание. Облучатель ОБН-150 имеет 3 режима работы:
1 режим – работает открытая лампа,
2 режим – работает экранированная лампа,
3 режим – работают открытая и экранированная лампы.
3. Состав изделия и комплект поставки
3.1 Облучатель в собранном виде без ламп и стартеров, шт. 1
3.2 Руководство по эксплуатации, экз. 1
3.3 Упаковка, шт. 1
..
РУКОВОДСТВО ПО ЭКСПЛУАТАЦИИ
Облучатель медицинский бактерицидный «Азов» по ТУ 9444-015-03965956-2008
варианты исполнения
Облучатель медицинский бактерицидный ОБН-75 «Азов», ТУ 9444-015-03965956-2008
Облучатель медицинский бактерицидный ОБН-150 «Азов», ТУ 9444-015-03965956-2008
1. Устройство и принцип работы
Облучатель представляет собой электротехническое устройство и разработан для настенного размещения.
Облучатель медицинский бактерицидный ОБН-75 «Азов» включает одну бактерицидную лампу мощностью 30 Вт, расположенную за защитным экраном.
Облучатель медицинский бактерицидный ОБН-150 «Азов» включает две бактерицидные лампы мощностью по 30 Вт, одна из которых расположена за защитным экраном, другая открыта и могут включаться по отдельности и одновременно.
Используемые бактерицидные лампы излучают ультрафиолетовый свет с длиной волн 253,7 нм, близкой к максимуму бактерицидного действия лучистой энергии. В связи с тем, что излучение с такой длиной волны вызывает фотоофтальмию и эритему кожи, обеззараживание помещения осуществляется при отсутствии людей.
Обеззараживание удаленных слоев воздуха в помещении осуществляется за счет конвекции.
2. Требования безопасности
2.1. Использование, монтаж и проверка ультрафиолетовых облучателей требуют строгого выполнения мер безопасности, исключающих возможное вредное воздействие на человека ультрафиолетового бактерицидного излучения, озона и паров ртути.
2.2. Размещать настенный облучатель необходимо не ниже 2 м. от пола
2.3. Включение открытых ламп в присутствии людей категорически Запрещается.
2.4. Монтаж и обслуживание облучателя должны производиться в соответствии с правилами техники безопасности при эксплуатации электроустановок потребителей, ПУЭ и настоящим руководством по эксплуатации. При техническом обслуживании облучателя технический персонал должен пользоваться защитными очками и средствами защиты кожи лица и рук.
2.5. Облучатель должен быть заземлен через заземляющий провод.
2.6. Во время сеанса облучения над входной дверью помещения должно быть включено световое табло: «Не входить. Идет облучение ультрафиолетом».
❗👉➨ 2.7. Комнатные растения во избежание их гибели должны быть защищены от облучения.
❗👉➨ 2.8. При замене лампы, стартера, устранении неисправностей, дезинфекции и очистке от пыли облучатель необходимо отключить от сети.
2.9. В случае обнаружения характерного запаха озона необходимо немедленно отключить облучатель от сети, удалить людей из помещения, включить вентиляцию или открыть окна для тщательного проветривания до исчезновения запаха озона. Затем произвести замену лампы. Периодичность контроля не реже 1 раза в 10 дней, согласно ГОСТ, ССБТ. 12.1.005-88 «Общие санитарно-гигиенические требования к воздуху рабочей зоны».
2.10. В случае нарушения целостности бактерицидной лампы и попадания ртути в помещение должна быть проведена тщательная демеркуризация помещения, в соответствии с «Методическими рекомендациями по контролю за организацией текущей и заключительной демеркуризации и оценке её эффективности» № 4545-87 от 31.12.87.
2.11. Утилизация облучателя, элементов его упаковки и вышедших из строя (в связи с истечением их срока службы) компонентов облучателей в медицинских организациях должна осуществляться в соответствии с СанПиН 2.1.7.2790.
2.12. Бактерицидные лампы, с истекшим сроком службы или вышедшие из строя, должны храниться запакованными в отдельном помещении. Утилизация бактерицидных ламп, должна проводиться в соответствии с «Постановлением Правительства РФ от 03.09.2010 г. № 681 «Об утверждении Правил обращения с отходами производства и потребления в части осветительных устройств, электрических ламп, ненадлежащий сбор, накопление, использование, обезвреживание, транспортирование и размещение которых может повлечь причинение вреда жизни, здоровью граждан, вреда животным, растениям и окружающей среде».
3. Подготовка к работе
3.1. Распаковать облучатель и проверить его комплектность.
3.2. После длительного транспортирования и хранения при низкой температуре перед проверкой работоспособности облучатель необходимо выдержать в помещении при t = 25±10°С в течение 2 часов.

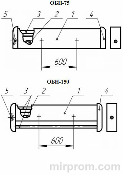
Рис. 1. Общий вид облучателей
1 – кожух
2 – стартер
3 – лампа
4 – боковина
5 – винт декоративный
3.3. Проверить работу облучателя до его монтажа в следующей последовательности (рис. 1):
- открутить винты 5, снять боковины 4;
- установить стартеры 2 (при наличии стартеродержателей), для чего необходимо вставить их в патроны и повернуть по часовой стрелке до упора;
- установить бактерицидные лампы 3, одновременно заведя контакты лампы в патроны и зафиксировать ее, повернув вокруг оси на 90 градусов.
- установить боковины 4 и закрепить винтами 5.
3.4. Подсоединить облучатель к сети. При наличии трех выводов (для ОБН-150) необходимо учитывать следующее:
- провод с наибольшей длиной вывода подключить к нулевой жиле сети;
- выключатель ВК-1 для экранированной лампы, устанавливается в цепь провода со средней длиной вывода в обеззараживаемом помещении;
- выключатель ВК-2 для открытой лампы, устанавливается в цепь провода с коротким выводом вне обеззараживаемого помещения;

Рис. 2. Узел крепления облучателя
1 – дюбель
2 – шуруп 5х35 ГОСТ 1144-80
3 – корпус облучателя
4 – шайба 5 ГОСТ 6958-78
3.5. Закрепить корпус облучателя к опорной поверхности шурупами по разметке, согласно рис. 2, на высоте не менее 2 м от пола.
4. Особенности эксплуатации
4.1. Использование бактерицидных облучателей должна осуществляться строго в соответствии с настоящим руководством по эксплуатации и «Р 3.5.1904-04.3.5. Дезинфектология. Использование ультрафиолетового бактерицидного излучения для обеззараживания воздуха в помещениях. Руководство, утвержденное Главным санитарным врачом РФ 04.03.2004».
4.2. К эксплуатации бактерицидных установок должен допускаться персонал, прошедший необходимый инструктаж.
4.3. При обеззараживании только лампой с защитным экраном допускается кратковременное пребывание в помещении людей и животных.
4.4. Необходимость замены ламп может быть определена путем учета суммарного времени работы ламп (согласно техническим характеристикам используемой лампы).
4.5. Необходимо ежемесячно осуществлять чистку от пыли отражающих поверхностей облучателя и колбы лампы при отключенном от сети облучателе.
5. Свидетельство о приемке
Облучатель соответствует техническим условиям ТУ 9444-015-03965956-2008 и признан годным для эксплуатации.
6. Гарантийные обязательства
6.1. Изготовитель гарантирует соответствие облучателя требованиям технических условий ТУ 9444- 015-03965956-2008 в течение 24 месяцев со дня ввода в эксплуатацию при соблюдении потребителем правил эксплуатации, транспортирования, хранения и монтажа.
Гарантийный срок хранения - 6 месяцев с момента отгрузки потребителю.
6.2. В случае обнаружения неисправностей облучателя или выхода его из строя не по вине потребителя до истечения гарантийного срока необходимо обратиться на предприятие – изготовитель ООО «Элид», 344091, г. Ростов-на-Дону, пр. Стачки, 247, отдел маркетинга: тел./факс (86342) 4-11-92, 4-46-36, E-mail: elid-azov@mail.ru
7. Сведения об упаковке, транспортировке и хранении
7.1. Облучатели поставляются в упакованном виде в ящики из гофрированного картона по ГОСТ 9142 или ГОСТ Р 52901. Транспортирование облучателей осуществляется транспортом всех видов в крытых транспортных средствах в соответствии с правилами перевозок, действующих на транспорте данного вида. Условия транспортирования в части воздействия климатических факторов должны соответствовать условиям хранения 5 по ГОСТ 15150.
7.2. Условия хранения облучателей в части воздействия климатических факторов должны соответствовать условиям хранения 2 по ГОСТ 15150.
❗👉➨ Внимание! Монтаж, проверка и эксплуатация ультрафиолетовых облучателей требует строгого выполнения требований безопасности.
Предприятие имеет право вносить конструктивные и технологические изменения по улучшению технических и эстетических качеств.

