В практике современного машиностроения [1, 2, 3] и других отраслей для обеспечения производительности и качества мойки деталей используют различные установки и технологии. В том числе широко применяют ультразвук (20…40 кГц), с помощью которого возбуждают пульсацию давления моющей жидкости, образование ударных волн, высоких локальных температур и давлений. При деформации образующихся пузырьков формируются кумулятивные струи, которые, как и ударные волны обладают большой разрушительной силой.
В фазе разрежения акустической волны, в жидкости образуются разрывы в виде полостей, которые заполняются насыщенным паром. В фазе сжатия под действием повышенного давления и сил поверхностного натяжения полости схлопываются, пар конденсируется на границе раздела фаз, а через стенки диффундирует растворенный в жидкости газ, который подвергается сильному адиабатическому сжатию. В момент схлопывания, давление и температура газа достигают значительных величин (по некоторым данным до 100 мПа и 10 000°С). После схлопывания в окружающей жидкости распространяется сферическая ударная волна, быстро затухающая в пространстве. Чтобы в жидкости образовалась полость, необходимо раздвинуть ее соседние молекулы на расстояние не менее удвоенной длины промежутка между ними. Максимальное напряжение Р при этом [1] определяется двумя факторами
Р ? 2?/R, (1)
где ? — поверхностное натяжение, R — радиус пузырька.
У воды R~2·10–10 м, Р~1000 мПа [2], а кавитационная прочность не превышает нескольких десятков мегапаскалей при нелинейной зависимости [3] между частотой акустической волны и пороговым давлением, при котором возникает кавитация. При достижении порогового давления происходит расширение зародыша пузырька до критического размера, после которого он начинает расти взрывообразно. Чем ниже частота акустической волны, тем ниже пороговое давление. Например, для частоты 1 кГц пороговое давление не превышает 105 Па [4…5] и др.
Для промывки деталей наиболее широкое распространение в промышленности получили ультразвуковые ванны. Технические характеристики погружных моечных установок с вибрирующей платформой приведены в табл. 1.

В установке c мониторной схемой мойки (рис. 1) очистка поверхностей производится действием распаляемых струй. Кроме того, в установке предусмотрен блок сушки, после чего промытые детали подаются на сборку.

Рис. 1. Гидравлическая схема туннельной установки: 1 — шланг высокого давления; 2 — пистолет-распылитель; 3 — рукоятка регулятора давления; 4 — манометр; 5 — турболизер; 6 — насос; 7 — электродвигатель; 8 — разъем для подсоединения шланга подачи воды; 9 — водяной фильтр; 10 — предохранительный клапан; 11 — перепускной клапан; 12 — шаровой клапан подачи моющего средства; 13 — инжектор; 14 — смеситель; 15 — перепускной клапан.
Примеры технических характеристик струйных конвейеров моечных установок приведены в табл. 2.

Наиболее распространенные схемы гидроструйной мойки приведены на рис. 2.

Рис. 2. Схемы гидрантов струйных моечных машин с пассивным (а — в) и активным (г — е) воздействием струи.
В ряде моделей работающих при погружении деталей в моющую жидкость и в струйных установках используют косточковую крошку, что необходимо при удалении загрязнений с особо высокими адгезионными свойствами.
Наряду с ультразвуковым возбуждением моющей жидкости также используются магнитофрикционные установки. Их характеристики приведены в табл. 3.1 и 3.2.

Однако использование высокочастотных способов возбуждения (ультразвук, магнитострукция и др.) не обеспечивает необходимого уровня интенсивности кавитации, желаемую производительность и качество мойки.
Механизм кавитации иллюстрирует рис. 3.

Рис. 3. Интерпретация низкочастотной кавитации.
В СамГТУ в таком подходе разработан ряд вариантов кавитационных моечных установок, работающих в низкочастотном диапазоне (10…100 Гц). При оптимальной амплитуде возмущающего воздействия, наряду с кавитацией, здесь создаются мощные коммулятивно направленные струи макроскопических размеров и имеющие микроскопический масштаб. Наряду с контактным взаимодействием здесь проявляются так называемые силы Бьеркенса, возникающие между телами, если хотя бы одно из них пульсирует.
Для привода пульсации давления в установках СамГТУ разработан частотный мультипликатор, отвечающий требованиям акустических технологий, позволяющий создавать промышленные установки различного назначения. На конструкцию этого механизма получены патенты РФ № 1734886 от 27.06.88 г. и № 2024336 от 24.06 91 г. и др. На базе мультипликатора создано семейство гидроволновых установок «Кавитон», предназначенных для промывки деталей машин перед сборкой, при ремонте и т. п. Иллюстрация установки и режимы пульсации приведены на рис. 4.

Схема установки для промывки деталей при погружении в кавитирующую жидкость.

Схема устройства для промывки крупногабаритных подшипников: 1, 2 – струйно-кавитационные головки; 3 – промываемый подшипник; 4 – сопла; 5 – кавитатор.
Рис. 4. Варианты разработанных установок.

Рис. 5. Спектрограммы пульсаций давления при различных вариантах испытаний.

Рис. 6. Схема и фотография опытной (прозрачной) форсунки: 1 – корпус; 2 – камера завихрения струи;
3 – камера Лаваля; 4 – сопло.

Рис. 7.Фотография и устройство опытной форсунки.
На рис. 5 приведена спектрограмма пульсации давления в установке для мойки при погружении деталей в моющую жидкость. На рис. 6 показана принципиальная схема кавитационной форсунки. На рис. 7 фотография струи кавитирующей жидкости. Компоновка блока форсунок для мойки баков ракетносителей приведена на рис. 8.

Рис. 8. Блок струйно-кавитационных форсунок для мойки баков ракет-носителей.

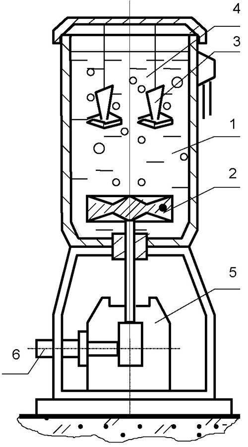
Рис. 9. Установка для кавитационной мойки внутренних поверхностей труб: 1 – корпус ванны; 2 – блок установки промываемой трубы; 3 – шток вибро-привода; 4 – вибропривод; 5 – кривошипно-шатунный механизм; 6 – ось кривошипа; 7 – крышка ванны; 8 – направляющие; 9 – моечная жидкость.
Разработку установки для кавитационной мойки внутренних поверхностей труб (O=80 мм, L=1500 мм) (рис. 9) проводили на основе результатов вибрационных испытаний. При испытаниях трубы устанавливали на вибростоле стенда ВЭДС-200, заполняли (до 60…80%) моющей жидкостью, герметизировали и приводили моющую жидкость в состояние резонансных колебаний. Было установлено, что высокоинтенсивный резонанс наступает при амплитуде возмущающих колебаний привода выше 5 мм.
Оценивалась необходимость применения моющих присадок, нагрева, времени мойки и значения динамических параметров резонанса.
Было показано, что наилучшее качество отмывки внутренних поверхностей труб имеет место при резонансных колебаниях (частота порядка 20 Гц, амплитуда возмущения порядка 5 мм). Также было установлено, что в нагреве моющей жидкости и использовании моющих добавок нет необходимости.
Качество нанесённых электролитических покрытий после кавитационной мойки отвечало установленным критериям.
Конструкция установки (рис. 9) рассчитана на промывку порядка 600 труб в месяц (24 трубы в сутки). Заполнение промываемой трубы водой производится при её установке в ванне 1, которая имеет постоянный уровень заполнения. Кривошипный привод пульсации промываемой трубы 4 установлен вне ванны и содержит кривошипно-шатунный механизм 5, который позволяет регулировать амплитуду перемещения промываемой трубы путём перестановки оси кривошипа 6, на направляющих ползуна диска кривошипного механизма.
Частота пульсации регулируется изменением частоты вращения двигателя постоянного тока (регулировкой постоянного напряжения на обмотке возбуждения). Дополнительно к моющему блоку был спроектирован блок сушки промытых труб. Суммарное время на промывку и сушку одной трубы составило порядка 5…7 минут. Достигнутое качество промывки обеспечивается настройкой на резонансный режим пульсации давления, вызывающий кавитацию высокой интенсивности. Установка успешно апробирована в производстве деталей шасси самолётов на ОАО «Авиаагрегат».
Д. Г. Громаковский, А. А. Коптев
Е. В. Крышень, С. В. Шигин
Самарский Государственный технический университет
тел./факс +7-846-332-19-31
E-mail: pnms3@mail.ru, www.ntcnad.samgtu.ru
Литература
- Шутилов В. А. Основы физики ультразвука. — Ленинград: Изд. Ленинградского университета, 1980. — 280 с.
- Neppiras E. A. Acoustic cavitation//Phys. Repts. — 1980. V.61, N 3. — C. 129–166.
- Филин Г. Физика акустической кавитации в жидкостях//Физическая акустика. Под редакцией У. Мезона. — М.: Мир, 1967. Т. 1. — С. 7–138.
- Перник А. Д. Проблемы кавитации. — Ленинград: Судостроение. 1966. — 439 с.
- Сиротюк М. Г. Экспериментальные исследования ультразвуковой кавитации//Мощ-ные ультразвуковые колебания. Под ред. Л. Д. Розенберга. — М.: Наука, 1968. Ч. 5. — С. 118–220.
- Патент РФ № 1734886. Фролов К. В., Кузнецов Н. Д., Ганиев Р. Ф., Громаковский Д. Г., Паламарчук Э. М., Борткевич Св.
- Устройство для очистки деталей. 23.05.1992. № 19. Зарегистрирован в ГРИ 27.01.1993. Патент РФ № 2287739. Гонченко Б. В., Громаковский Д. Г., Ковшов А. Г., Мень-шов А.П., Мохонько В. П., Приказчиков В. А., Шгин С. В. Форсунка. 20.11.06. № 32.
<"

