- Область применения: от криогеники до 500°C
- Новизна конструкции: разделение функций
- Конструктивные особенности: гибкое звено и генератор
- Последовательность сборки: строгий порядок операций
- Варианты исполнения: ортогональноступенчатая и гладкая оболочки
- Устройство для монтажа и демонтажа
- Подшипниковые опоры и фиксация
- Технологичность изготовления на станках с ЧПУ
- Повышение кинематической точности
- Патентная защита и возможности внедрения
Скажу прямо: волновые герметичные передачи — это не просто очередное техническое решение. Это реальный прорыв для тех, кто работает с вакуумным оборудованием в экстремальных условиях. Вы наверняка сталкивались с проблемой передачи вращения через герметичную стенку без утечек. Здесь подход принципиально иной.
Область применения: от криогеники до 500°C
Экстремальные условия эксплуатации
Разработка относится к вакуумному технологическому оборудованию, точнее к его механическим узлам, функционирующим в широком интервале температур от нормальной до 500°C и давлении от 10⁻¹⁰ мм рт. ст. до нескольких атмосфер. Представьте себе: такая передача работает и в глубоком вакууме, и под давлением.
Передача вращения возможна в герметизируемый объем (камеру) через сплошную металлическую стенку в вакуум, в том числе при криогенных температурах в сжиженных газах (азот, гелий 4,2 К). Это серьёзно. Не каждое устройство выдержит такие условия.
Технические характеристики
| Параметр | Значение | Примечание |
|---|---|---|
| Температурный диапазон | От нормальной до 500°C | Включая криогенные температуры |
| Давление | 10⁻¹⁰ мм рт. ст. — несколько атмосфер | Глубокий вакуум до избыточного давления |
| Криогенные среды | Азот, гелий (4,2 К) | Работа в сжиженных газах |
| Герметичность | Через сплошную металлическую стенку | Без уплотнений вращающегося вала |
Новизна конструкции: разделение функций
Основные элементы передачи
Волновая герметичная передача включает соединенные герметично корпус и выполненные как одно целое гибкое герметичное звено с внутренним зубчатым венцом, установочный фланец, дно, входное и выходное звенья, гибкий подшипник, наружный генератор волн в виде двухвершинного овала с внутренним контуром.
Гибкий подшипник устанавливают на гибкое герметичное звено недеформированным, а затем при монтаже в овал наружного генератора принудительно деформируют с изменением его профиля с круговой формы на эллиптическую. Движение в герметизируемый объем передают волнообразными упругими деформациями через гибкое герметичное звено. Генерация волн осуществляется наружным генератором.
Принцип разделения функций
Обеспечение ресурса по герметичности, крутящему моменту вменяют гибкому герметичному звену и делегируют раздельно двум неподвижным оболочкам, формоизменяющим профиль в окружном направлении. Эти оболочки располагают концентрично и сопрягают с относительной подвижностью.
Наружная герметичная, ортогональноступенчатая или гладкая оболочка обеспечивает ресурс по герметичности, а внутренняя негерметичная гладкая оболочка — функцию передачи зацеплением силовой нагрузки передачи. Что это даёт? Разделение ответственности. Каждая оболочка делает то, что у неё получается лучше всего.
Конструктивные особенности: гибкое звено и генератор
Гибкое герметичное звено
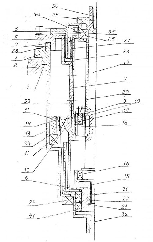
Передача состоит из корпуса 1, установленного на герметичной стенке 2, который уплотняется фланцевым соединением с прокладкой 3 из индиевой или оловоиндиевой проволоки, или вакуумной резины.
Гибкая герметичная ортогональноступенчатая оболочка 4 выполнена из совокупности цилиндрических и плоских поверхностей и представляет собой как одно целое из установочного фланца 5 и дна 6. Герметичная оболочка 4 соединена герметично с корпусом 1 посредством соединения шип-паз и прокладки 7 из индиевой или оловоиндиевой проволоки, или вакуумной резины.
Корпус 1, установочный фланец 5 и крышка 8 прижимаются последовательно друг к другу и герметичной стенке 2 винтами. Всё просто, но надёжно.
Генератор волн и гибкий подшипник
Гибкий подшипник 9 устанавливают на ортогональноступенчатую 4 или гладкую 42 герметичные наружные оболочки со стороны дна 6 недеформированным с относительной подвижностью за пределы посадочной шейки 10 герметичных оболочек 4, 42.
Его устанавливают принудительно с изменением формы профиля с круговой формы на эллиптическую при монтаже во внутренний двухвершинный овал 13 наружного генератора 11 по наклонной заходной поверхности (фаске) 14 с деформированием герметичной оболочки 4.
Двухвершинный внутренний эллиптический овал 13 наружного генератора 11 выполняют как его часть на электроэрозионном станке с ЧПУ. Точность — залог успеха.
Последовательность сборки: строгий порядок операций
Этапы сборки передачи
Последовательность сборки/разборки волновой герметичной передачи должна быть строго соблюдена. Это не тот случай, когда можно импровизировать.
За счёт осевого усилия устанавливают подшипниковую опору 15 выходного звена с подшипником 16, валом 17, жестким зубчатым колесом 18 на шпонке с втулкой 20 в глухое отверстие 21 хвостика 22 герметичной оболочки 4. Вал 17 выходного звена устанавливают в подшипник 16 вставной опоры 15 (преимущественно шариковый, сферический).
Формирование зубчатого зацепления
При сдеформированной герметичной оболочке 4 гибким подшипником 9 в кольцевой зазор между герметичной оболочкой 4 и зубчатым колесом 18 вводят с усилием внутреннюю негерметичную оболочку 23 и образуют двухволновое зубчатое зацепление 24 передачи со сдвоенным жестким колесом из составных колес 18, 19.
Устанавливают крышку 8 с подшипниковой опорой 25, втулкой 26 и образуют волновое соединение 27. В варианте внутреннюю негерметичную оболочку 23 с одним зубчатым венцом стопорят винтами 43 ГОСТ 1478–84 при установленной крышке 8.
Жесткое зубчатое колесо 18 выходного звена выполняют преимущественно сдвоенным, его зубчатые венцы обрабатывают заодно с жесткой фиксацией подвижного зубчатого венца. Укладывают внахлест на шип соединения шип-паз 28 индиевую или оловоиндиевую проволоку соединения (или резиновое кольцо) и надевают на шарикоподшипниковые опоры 12, 29 корпус 1.

Рис. 1. Вариант волновой герметичной передачи с ортогональноступенчатой герметичной оболочкой и наружным нерегулируемым генератором волн принудительной деформации

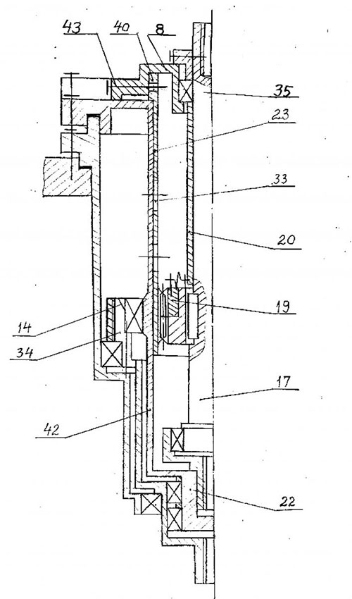
Рис. 2. Вариант волновой герметичной передачи с гладкой герметичной оболочкой, наружным нерегулируемым генератором волн принудительной деформации, внутренней гибкой негерметичной оболочкой с одним зубчатым венцом и застопоренной винтами ГОСТ 1478–84
Варианты исполнения: ортогональноступенчатая и гладкая оболочки
Ортогональноступенчатая оболочка
В вариантах исполнения гибкой герметичной оболочки ортогональноступенчатой и гладкой, а внутренней гибкой негерметичной оболочки в вариантах с двумя или одним зубчатым венцом, жесткое зубчатое колесо в сборе с деталями при образовании зубчатого волнового зацепления устанавливают в рабочее положение первым, так как оно не перекрывает возможность входа во внутреннюю полость герметичного гибкого звена и занятию рабочего положения внутренним гибким оболочкам.
Гладкая оболочка с одним зубчатым венцом
В варианте с гладкой герметичной оболочкой внутреннюю негерметичную оболочку с одним зубчатым венцом стопорят винтами ГОСТ 1478–84. Это упрощает конструкцию, но требует точной фиксации. Для сборки/разборки передачи используют резьбовые отверстия 30, 31, 32 и сквозные отверстия 34, расположенные на малой оси овала 13 наружного генератора 11 и винты 43.
Отверстия 33 во внутренней негерметичной оболочке 23 предназначены для снижения ее жесткости. Логично? Да. Меньше жесткость — легче монтаж.
Устройство для монтажа и демонтажа
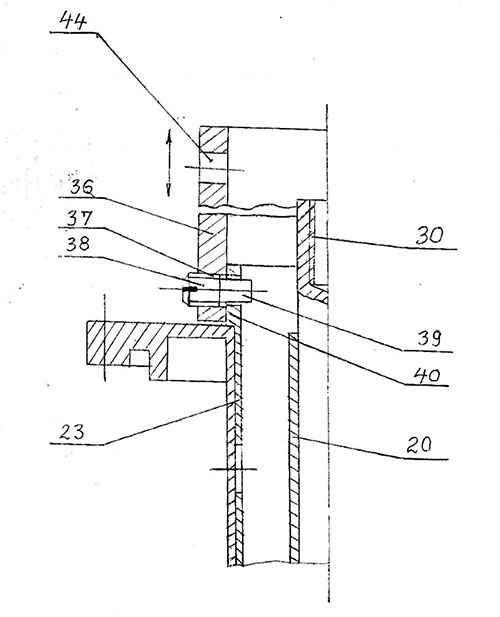
Конструкция специального устройства
Устройство для установки и демонтажа внутренней негерметичной оболочки 23 выполнено в виде круглой трубы 36, надетой на внутреннюю негерметичную оболочку 23 с гарантированным зазором и с резьбовыми отверстиями 37 в трубе 36.
Труба 36 снабжена ввинченными в резьбовые отверстия 37 винтами 38 с цилиндрическими концами 39 ГОСТ 1478–84, устанавливаемыми в отверстия 35 внутренней негерметичной оболочки 23.

Рис. 3. Устройство сборки/разборки волновой герметичной передачи — внутренней гибкой негерметичной оболочки
Особенности конструкции оболочки
Конец внутренней негерметичной оболочки 23 выполнен с утолщением в виде кольцевого пояска 40 внутри или снаружи для сохранения прочности оболочки при ее демонтаже и монтаже. На наружной поверхности внутренней негерметичной оболочки 23, между зубчатыми венцами зацепления 24 и соединения 27 выполняют обнизку для снижения усилий при ее установке и демонтаже из герметичной оболочки 4.
Оболочку 23 для снижения трения при установке напыляют твердосмазочным покрытием, например, дисульфидом молибдена. Это не просто рекомендация — это необходимость.
Подшипниковые опоры и фиксация
Расположение и крепление опор
Подшипниковые опоры 12, 41 входного звена 11 (наружного генератора) устанавливают и закрепляют на хвостовике 22 герметичного звена 4 и в корпусе 1 передачи. Подшипниковую опору 41 герметичного звена 4 устанавливают и закрепляют на хвостовике 22 герметичного звена 4.
Подшипниковую опору выходного звена выполняют вставной в глухое отверстие хвостовика герметичного звена, а вал выходного звена устанавливают в подшипник вставной опоры. Подшипниковые опоры входного звена устанавливают и закрепляют на хвостовике герметичного звена и в корпусе передачи, подшипниковую опору герметичного звена — на хвостовике герметичного звена.
Для демонтажа гибкого подшипника 9 в наружном генераторе 11 выполнены сквозные резьбовые отверстия 34. Подшипники 41, 16, 12 фиксируются в опорах стопорными кольцами.
Корпус 1 заключает в себя систему подшипниковых опор взаимодействующих звеньев, гибкой герметичной оболочки 4, входного звена 11, наружного генератора и выходного вала 17 в силовом отношении.
Технологичность изготовления на станках с ЧПУ
Изготовление гибкого звена
Технологичность волновой герметичной передачи может быть оценена ресурсом передачи, характеризующим продолжительность выполнения изделием заданных функций. В статье предложена оригинальная конструкция волновой герметичной передачи, обеспечивающая низкие вибрации звеньев, их повышенные виброустойчивость и вибропрочность, высокие герметичность и ресурс передачи, а также технологичность изготовления герметичного гибкого звена на токарных станках с ЧПУ и зубчатых венцов гибких колес раскаткой с одновременным выдавливанием зубьев в матрицу.
Последнее способствует внедрению автоматизированного сборочного процесса волновых зубчатых герметичных передач. Это важно для серийного производства.
Преимущества новой технологии
| Элемент | Технология | Преимущество |
|---|---|---|
| Гибкое герметичное звено | Токарная обработка на станках с ЧПУ | Высокая точность, повторяемость |
| Зубчатые венцы | Раскатка с выдавливанием в матрицу | Автоматизация, повышение прочности |
| Генератор волн | Электроэрозионная обработка с ЧПУ | Точность профиля овала |
| Сборка | Автоматизированный процесс | Снижение трудоемкости |
Повышение кинематической точности
Компенсация погрешностей
В кинематических точных волновых герметичных передачах, а также негерметичных волновых передачах с глухим дном мертвый ход может быть выбран при выполнении волнового зацепления с люфтовыбирающим устройством, а кинематическая точность передачи повышена путем компенсации накопленной погрешности окружного шага жесткого колеса смещением подвижного составного колеса на 180°.
Открывающаяся возможность использования в волновых зубчатых герметичных передачах гибкого герметичного звена с нулевой конусностью позволяет повысить технологичность их изготовления и перевести их из разряда научно-инженерной экзотики в разряд промышленной продукции. Вот это поворот!
Концы звеньев и фиксирующие опоры
Концам звеньев (гибкого герметичного, входного и выходного) придают прочное постоянное положение фиксирующими, преимущественно несовмещенными опорами. Силы взаимодействия передаются от одних элементов опор на другие и на корпус передачи. Это обеспечивает стабильность работы всей системы.
Патентная защита и возможности внедрения
Информация о патенте
На данное изобретение 16.03.2012 подана заявка в ФИПС РФ, дата публикации заявки 27.09.2013, Бюл. № 27, F16H 1/00. Патентная защита — это гарантия того, что технология не будет скопирована без разрешения.
Приглашение к сотрудничеству
Для внедрения разработки в промышленное производство приглашаются заинтересованные специалисты и инвесторы. Технология готова к применению, осталось найти тех, кто оценит её потенциал по достоинству.
Вот такая история. Без пафоса. С фактами. И с реальными возможностями. Зависит от ситуации? Да. Но потенциал — очевиден.
Валентин Алексеевич Абрамов
член Творческого Союза изобретателей Санкт-Петербурга
abramov38@bk.ru

