Инструкция Electrolux Electrolux NP Aquatronic и NPX Aquatronic DIGITAL. Электрический водонагреватель проточного типа Электролюкс
Перед первым использованием водонагревателя Внимательно прочитайте настоящее руководство по эксплуатации и обратите особое Внимание на пункты, обозначенные символом ❗👉➨ «Внимание!»
❗👉➨ Примечание: В тексте данной инструкции проточный водонагреватель может иметь такие технические названия, как прибор, устройство, аппарат, водонагреватель и т.п
Мы благодарим Вас за сделанный выбор!
Вы выбрали первоклассный продукт от Electrolux, который, мы надеемся, доставит Вам много радости в будущем. Electrolux стремится предложить как можно более широкий ассортимент качественной продукции, который сможет сделать Вашу жизнь еще более удобной.
Внимательно изучите данное руководство, чтобы правильно использовать Ваш новый водонагреватель проточного типа и наслаждаться его преимуществами. Рекомендуем сохранять данное руководство Мы гарантируем, что он сделает Вашу жизнь намного комфортнее, благодаря легкости в использовании. Удачи!
Общие сведения
Водонагреватель проточного типа Electrolux спроектирован для нагрева холодной воды, поступающей из водопровода.

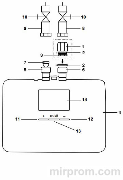
рис. 1. NP Aquatronic
1. Корпус ограничителя протока
2. Резиновая шайба уплотнитель
3. Ограничитель протока
4. Корпус водонагревателя
5. Вход холодной воды
6. Выход горячей воды
7. Фильтр очистки
8. Труба разбора горячей воды
9. Труба центрального водоснабжения холодной воды
10. Запорный вентиль* (кран у труб с водой)

рис. 2. NPX Aquatronic DIGITAL
1. Корпус ограничителя протока
2. Резиновая шайба уплотнитель
3. Ограничитель протока
4. Корпус водонагревателя
5. Вход холодной воды
6. Выход горячей воды
7. Фильтр очистки
8. Труба разбора горячей воды
9. Труба центрального водоснабжения холодной воды
10. Запорный вентиль* (кран у труб с водой)
11. Увеличение мощности
12. Уменьшение мощности
13. ON/OFF — включение/выключение
14. Дисплей
❗👉➨ * В случае отсутствия надобности использования проточного водонагревателя, перекройте запорные вентили и отключите от сети электропитание.
.
Указания по технике безопасности
Установка, начальная эксплуатация и техническое обслуживание настоящего устройства должны проводиться квалифицированным специалистом в соответствии с указаниями инструкции по монтажу. Специалист при этом несет полную ответственность за выполнение соответствую– щих норм и предписаний по правильному монтажу.
Мы не берем на себя никакой ответственности за какие–либо повреждения, возникшие в результате несоблюдения настоящих инструкций.
Гарантийное обслуживание водонагревателя производится в соответствии с гарантийными обязательствами, перечисленными в гарантийном талоне. Изготовитель оставляет за собой право на внесение изменений в конструкцию и характеристики прибора.
Применение
Этот малогабаритный проточный водонагреватель разработан для одновременного снабжения горячей водопроводной водой одной водоразборной точки. При открывании крана горячей воды в смесителе проточный нагреватель автоматически включается и нагревает воду за то время, пока она протекает через нагревательный элемент. (Водонагреватель потребляет электроэнергию только когда через него протекает вода.)
❗👉➨ Примечание: Холодная вода, добавленная через кран, не учитывается диапазоном регулирования в электронной схеме, что может послужить причиной колебаний температуры воды и в связи с этим потерей комфорта.
Водонагреватель Electrolux NP Aquatronic и NPX Aquatronic DIGITAL
Прибор включается при достаточном протоке воды ≥ 1,5 л./мин. Колебания температуры входящей воды и напора в водопроводной сети могут повлиять на температуру нагретой воды. Например, зимой, когда температура входящей воды становится значительно ниже, достичь желаемой температуры горячей воды можно только в случае уменьшения её расхода для модели NP Aquatronic или ее регулировки с помощью клавиши «+» на корпусе — для модели NPX Aquatronic DIGITAL. Причём летом, когда температура входящей воды повышенная, можно достичь желаемой температуры с помощью примеси холодной воды для модели NP Aquatronic. Для модели NPX Aquatronic DIGITAL — с помощью регулировки подачи холодной воды клавишей «–» на корпусе. При слишком малом расходе, очень низком напоре воды или закрывании крана горячей воды нагреватель автоматически отключается.
Водонагреватель Electrolux NP Aquatronic и NPX Aquatronic DIGITAL
Для того, чтобы нагреватель работал в оптимальном режиме, следует использовать поставляемый в комплекте ограничитель протока (см. рис. 1 и 2).
Таблица изменения протока при изменении давления
| Давление \ проток | Объём (л) | Проток воды (литры в минуту) при использовани ограничителей протока | |
| NP 4/6 Aquatronic | NPX 4/6 Aquatronic DIGITAL | ||
| 1 bar | 2,2 | 2,5 | |
| 2 bar | 3,2 | 3,4 | |
| 3 bar | 3,5 | 3,2 | |
| 4 bar | 3,0 | 3,1 | |
| 5 bar | 3,2 | 3,2 | |
| 6 bar | 3,4 | 3,2 | |
| 7 bar | 3,4 | 3,4 | |
Деаэрация
Во избежание повреждения нагревательного элемента, перед вводом проточного водонагревателя в эксплуатацию следует провести его деаэрацию. После каждого опустошения водонагревателя (например, после проведения работ в водопроводной сети, из–за опасности замерзания или после его ремонта) перед повторным вводом нагревателя в эксплуатацию из него следует снова выпустить воздух.
Уход и техобслуживание
Указания по монтажу
Нагреватель Electrolux монтируется в помещении с плюсовой температурой к точке отбора холодной воды в соответствии с рисунками. При монтаже учитывайте следующее:
Монтаж и подключение к водопроводной сети
Вариант установки на стену № 1
рис. 3. Вариант установки на стену № 1
Вариант установки на стену № 2
рис. 4. Вариант установки на стену № 2
Установите два крепежных шурупа вкручиваемые в дюбеля в стене где будет установлен водонагреватель.
Места крепления водонагревателя показаны на рис. 3 и 4. Шляпки шурупов должны выступать от стены на расстояние необходимое для навески на них водонагревателя, чтобы обеспечить надежное крепление и прилегание к стене. Встроенные трубки прибора должны быть расположены вертикально.
Трубки входа холодной воды (синий) и выхода горячей воды (красный) обозначены соответственными цветами. При монтаже необходимо это учитывать и подсоединять арматуру в соответствии с оцветкой.
После монтажа нагревателя все соединения следует проверить на герметичность.
Электрическое подключение водонагревателя Электролюкс
❗👉➨ Перед электроподключением из нагревателя следует выпустить весь воздух, наполнив его водой путем открывания крана горячей воды. В противном случае возможен выход из строя нагревательного элемента!
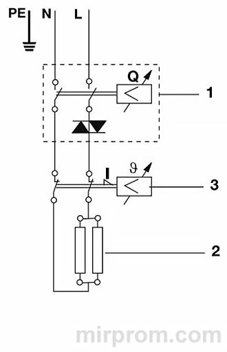
рис. 5. NPX Aquatronic DIGITAL
1 блок управления (электронный);
2 спиральный нагревательный элемент;
3 температурный предохранитель.

рис. 6. NPX Aquatronic
1 температурный предохранитель;
2 дифференциальное реле давления с микровыключателями;
3 спиральные нагревательные элементы.
Ввод в эксплуатацию
Непосредственно перед включением
Настройки прибора NPX Aquatronic DIGITAL
Чтобы достичь оптимальной производительности и температуры воды установите ограничитель протока воды, как показано на рис. 1 и 2.
После установки водонагревателя подключите его к электросети и системе центрального водоснабжения, откройте кран горячей воды, включите водонагреватель нажатием клавиши ON/OFF на корпусе. После закрытия крана горячей воды водонагреватель выключится автоматически.
При следующем открытии водонагреватель автоматически включится.
Экономия энергии
Задайте точную желаемую температуру на водонагревателе и откройте кран горячей воды. Если вода кажется слишком горячей, не добавляйте холодную воду, а вместо этого задайте на приборе меньшее значение температуры. Чтобы достигнуть менее горячей температуры воды гораздо экономичнее снизить на приборе заданное значение температуры и сэкономить драгоценную электроэнергию, чем увеличить расход холодной воды совсем не требуемый для например мытья рук. А так же за время регулировки и настройки приятной температуры расходуется — опять же напрасно — вода и электроэнергия.
Более того, холодная вода, добавленная через кран, не учитывается диапазоном регулирования в электронной схеме, что может послужить причиной колебаний температуры воды.
Технические данные
| Обозначение NP 4 | Aquatronic NP 6 | Aquatronic NPX 4 | Aquatronic DIGITAL NPX 6 | Aquatronic DIGITAL |
| Номинальное давление, бар | 7 | 7 | 7 | 7 |
| Система нагрева | Неизолированный нагревательный элемент | |||
| Уд. сопротивление воды, омега см | ≥800 Ω при 15°С | ≥800 Ω при 15°С | ≥800 Ω при 15°С | ≥800 Ω при 15°С |
| Номинальное напряжение, В | 220 | 220 | 220 | 220 |
| Номинальная мощность, кВт | 4 | 5,7 | 4 | 5,7 |
| Номинальный ток, А | 18,2 | 25,9 | 18,2 | 25,9 |
| Мин. поперечное сечение провода, мм2 | 2,5 | 4,0 | 2,5 | 4,0 |
| Потребление воды при Dt = 29 К, л/мин | 2 | 2,8 | 2 | 2,8 |
| Величина отключающего протока, л/мин | 1,4 | 1,4 | 1,7 | 1,3 |
| Вес (ок.), кг | 1,42 | 1,42 | 1,69 | 1,69 |
| Габариты (ВхШхГ), мм | 191х85х141 | 191х85х141 | 191х85х141 | 191х85х141 |
| Класс пылевлагозащищенности | IPX4 | IPX4 | IPX4 | IPX4 |
| Защита от поражения электрическим током | I класс | I класс | I класс | I класс |
Производитель оставляет за собой право на внесение изменений
Поиск и устранение неисправностей
Таблица поможет Вам в случае обнаружения неисправности самостоятельно устранить дефект, выяснив причину его возникновения.
| Неисправность | Причина | Устранение |
| Вода не поступает | Перекрыта подача воды. | Открыть распределительный кран и запорный вентиль. |
| Воды поступает меньше, чем ожидалось | Отсутствует насадка–регулятор струи. | Установить специальную насадку–регулятор струи. |
| Слишком низкий напор воды в системе. | Уточнить технические данные. | |
| Наличие загрязнений. | Проверить напор воды; прочистить фильтр, запорный вентиль и/или кран. | |
| Прибор самопроизвольно включается и выключается | Непостоянный напор воды.Недостаточный расход воды. | Удалить загрязнения. / Повысить напор воды. Закрыть все другие точки отбора воды. Приоткрыть запорный вентиль. |
| Вы слышите, что прибор включается, но вода не нагревается | Нагревательный элемент вышел из строя. | Замените нагревательный элемент (осуществляется сервисной службой). |
| Не подключена фаза. | Проверить параметры электроподключения (напряжение 230 В) (осуществляется сервисной службой). | |
| Электроподключение не в порядке. | Проверить параметры электроподключения (осуществляется сервисной службой). | |
| Вы не слышите, что прибор включается и вода не нагревается | Перепутаны вход холодной воды с выходом горячей воды. | Проверьте подключение воды. |
| Слишком низкий напор воды. | Регулировка протока (см. рис. 10) / Увеличить подачу воды на прибор. | |
| Наличие загрязнений. | Прочистить входное и/или выходное отверстие. | |
| Температура теплой воды колеблется | Непостоянный напор воды. | Стабилизировать напор воды (лучше не использовать горячую воду для нескольких объектов). |
| Непостянное электрическое напряжение. | Проверить напряжение. | |
| Температура теплой воды слишком низкая | Расход воды слишком большой. Температура воды на входе слишком низкая. |
Произвести регулировку протока воды или температуры. |
| Слишком малое потребление электроэнергии. | Сравнить измерения температуры воды и расхода с техническими данными / Проконтролировать напряжение. | |
| Не установлен ограничитель протока. | Установите ограничитель протока согласно рис. 1 и 2. |
Гарантийное обслуживание водонагревателя производится в соответствии с гарантийными обязательствами, перечисленными в гарантийном талоне.
Утилизация
По окончании срока службы прибор следует утилизировать. Подробную информацию по утилизации водонагревателя Вы можете получить у представителя местного органа власти.
❗👉➨ Срок службы прибора – 5 лет.
Сертификация
Товар сертифицирован на территории России, соответствует требованиям нормативных документов:
ГОСТ Р 51318.14.1-2006,
ГОСТ Р 51318.14.2-2006,
ГОСТ Р 51317.3.2-2006,
ГОСТ Р 51317.3.3-2008
СТБ МЭК 60335-2-21-2005
Сертификат соответствия:
RU C-SE.AB51.B.00082
СВЕДЕНИЯ ОБ ИЗГОТОВИТЕЛЕ
Изготовитель: Electrolux heating technology (Jiangmen) Co., Ltd
Адрес изготовителя: Number 51, Jianshedonglu, Taoyuan Town, Heshan City, Guangdong Province, P.R.C.
Импортер и уполномоченный представитель: ООО «Ай.Эр.Эм.Си.»
Адрес: 119049, г.Москва, Ленинский проспект, д.6, стр.7, каб.14
Сделано в КНР

