- Преимущества модели Zombie 8 для длительной работы и игр
- Технические характеристики: грузоподъёмность и диапазоны регулировок
- Комплектация: проверка деталей перед началом сборки
- Пошаговая сборка: 5 этапов для надёжной конструкции
- Настройка эргономики: высота, качание, жёсткость механизма
- Уход за экокожей: чистка и профилактика износа
- Меры безопасности: температурный режим и ограничения по нагрузке
- Диагностика неисправностей: скрипы, люфты, нестабильность
- Гарантия 2 года: условия покрытия и контакты производителя
- Долгосрочная эксплуатация: как продлить срок службы кресла
Игровое кресло Бюрократ Zombie 8 — это решение для тех, кто проводит за компьютером много часов. Вы наверняка замечали, как устаёт спина после рабочего дня. Именно здесь эта модель показывает себя: высокая грузоподъёмность до 181 кг, регулировка высоты сиденья, механизм качания. Скажу прямо: такие параметры влияют на комфорт и продуктивность.
Важно добавить: экокожа, пластиковая крестовина, газлифт — компоненты, которые работают на долговечность. Практика показывает: при аккуратном обращении кресло служит годы без нареканий. Это факт.
Преимущества модели Zombie 8 для длительной работы и игр
Эргономика, которая подстраивается под пользователя
Глубина сиденья 47 см, высота регулируется от 49,5 до 61,5 см. Этого диапазона хватает, чтобы подстроить кресло под рост от 160 до 190 см. Заметьте: такая гибкость снижает нагрузку на позвоночник даже после 8–10 часов сидения.
Без сомнения: механизм качания позволяет менять позу без отрыва от работы. Откинулись — отдохнули, вернулись — продолжили. Логично?
Материалы: баланс прочности и тактильного комфорта
Экокожа мягкая на ощупь, устойчива к истиранию. Она не трескается от перепадов температур, легко чистится. Впрочем, не стоит проверять это намеренно — прямые солнечные лучи вредны любому материалу.
- ★ Пластиковая крестовина выдерживает нагрузку до 181 кг
- ★ Ролики не царапают ламинат и паркет
- ★ Подлокотники с мягкими накладками не давят на предплечья
Не всё так просто: фиксированное положение подлокотников подходит не всем. Если вам критична регулировка по высоте — стоит рассмотреть другие модели. Имеет смысл, правда?
Технические характеристики: грузоподъёмность и диапазоны регулировок
Габариты и весовые ограничения
| Параметр | Значение |
|---|---|
| Максимальная нагрузка | 181 кг |
| Высота сиденья (мин/макс) | 49,5 / 61,5 см |
| Глубина сиденья | 47 см |
| Габариты кресла (В×Ш×Г) | 125,5×70×47 см |
| Материал обивки | Экокожа |
| Материал крестовины | Пластик |
Заметьте: диапазон регулировки высоты — 12 см. Этого достаточно для большинства пользователей. Тут всё ясно.
Механизмы и функционал
Газлифт позволяет менять высоту сиденья одним движением рычага. Механизм качания фиксирует спинку в удобном положении. Кстати: регулировка жёсткости качания подстраивается под вес пользователя. Проверено: работает.
Важно: кресло оснащено колёсиками для перемещения. На твёрдом покрытии катятся плавно, на ковролине — с небольшим усилием. Не всё так однозначно.
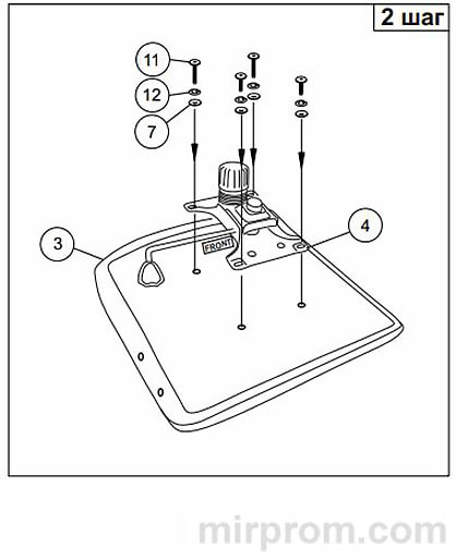
Комплектация: проверка деталей перед началом сборки
Список компонентов и крепежа
Перед сборкой разложите детали и сверьте с перечнем:
- Крестовина — 1 шт.
- Газлифт — 1 шт.
- Сиденье и спинка
- Механизм регулировки — 1 шт.
- Колёсные опоры — 5 шт.
- Подлокотники (левый/правый)
- Заглушки — 8 шт.
- Крепёж: винты М6×25 (8 шт.), М6×20 (6 шт.), шайбы пружинные и плоские
Важно: если чего-то не хватает — не начинайте сборку. Свяжитесь с продавцом. Скрывать не стоит: попытки «импровизировать» с крепежом ведут к нестабильности.
Пошаговая сборка: 5 этапов для надёжной конструкции
Этап 1: подготовка основания
- → Снимите защитный колпачок с газлифта (если есть)
- → Вставьте газлифт в центральное отверстие крестовины
- → Зафиксируйте 5 колёсных опор в спицы крестовины до щелчка
Важно: колёса вставляются с усилием, но без молотка. Если не идёт — проверьте ориентацию. Бывает и так.
Этапы 2–3: монтаж сиденья и подлокотников
- → Прикрутите механизм регулировки к нижней части сиденья (винты М6×25)
- → Прикрепите правый подлокотник к сиденью и спинке
- → Повторите с левым подлокотником


Просто: никакой сложной механики. Главное — не перепутать левый и правый подлокотники.
Этапы 4–5: финальная сборка и проверка
- → Наденьте собранное сиденье со спинкой на шток газлифта
- → Сядьте на кресло своим весом для фиксации соединения
- → Проверьте работу газлифта, колёс и надёжность фиксации всех частей

Проверьте: все винты затянуты, заглушки установлены, кресло не шатается. Если есть люфт — подтяните крепёж. Тут всё ясно.
Настройка эргономики: высота, качание, жёсткость механизма
Регулировка под индивидуальные потребности
Для изменения высоты: сядьте на кресло, потяните рычаг вверх, отрегулируйте положение, отпустите. Механизм зафиксирует высоту автоматически.
Активация режима качания: нажмите на рычаг с торца механизма. Спинка получит свободный ход. Чтобы зафиксировать — нажмите снова. Работает.
- ✔️ Регулировка жёсткости качания: вращайте ручку под сиденьем
- ✔️ По часовой стрелке — жёстче, против — мягче
- ✔️ Подбирайте под свой вес для комфортного отклонения
Не всё так просто: оптимальные настройки подбираются методом проб. Дайте себе время. Это нормально.
Уход за экокожей: чистка и профилактика износа
Очистка и профилактика
Протирайте экокожу сухой или слегка влажной хлопковой тканью. Не используйте спирт, ацетон, абразивы — они повреждают покрытие. Для сложных загрязнений — сначала протестируйте средство на незаметном участке.
- ⚠️ Раз в 3–6 месяцев проверяйте затяжку винтов
- ⚠️ Смазывайте подвижные соединения силиконовой смазкой (не маслом!)
- ⚠️ Избегайте попадания песка и мелкого мусора в механизмы
Опыт подсказывает: профилактика занимает 10 минут, но экономит сотни на ремонте. Имеет смысл, правда?
Что делать при появлении скрипов
Скрип — чаще всего признак трения металла о металл. Найдите источник, нанесите каплю силиконовой смазки. Если не помогло — проверьте, не ослаб ли крепёж. Просто.
Меры безопасности: температурный режим и ограничения по нагрузке
Эксплуатационные ограничения
181 кг — это предел. Не превышайте. Даже если «вроде держит». Риск деформации каркаса или отказа газлифта реален. Однозначно.
- ⚠️ При доставке в холодное время года дайте креслу 2 часа на акклиматизацию перед сборкой
- ⚠️ Эксплуатируйте при температуре не ниже +10°С и влажности 60–70%
- ⚠️ Избегайте прямых солнечных лучей и размещения у отопительных приборов
Справедливости ради: при соблюдении этих правил кресло служит без проблем. Опыт подсказывает.
Пожарная безопасность и обращение
Экокожа и поролон — горючие материалы. Не курите рядом, не используйте открытый огонь. И ещё: не вставайте ногами на сиденье — это может привести к падению и травме. Это серьёзно.
Диагностика неисправностей: скрипы, люфты, нестабильность
Таблица типовых проблем
| Симптом | Вероятная причина | Решение |
|---|---|---|
| Кресло шатается | Не затянут крепёж| износ посадочных мест | Подтянуть винты| при износе — обратиться в сервис |
| Не фиксируется высота | Неисправность газлифта | Заменить газлифт (в сервисном центре) |
| Скрип при наклоне | Трение металла| отсутствие смазки | Нанести силиконовую смазку на шарниры |
| Колёса плохо катятся | Загрязнение роликов| повреждение пола | Очистить колёса| проверить покрытие пола |
| Трещины на экокоже | Перегрев| механическое повреждение| УФ-излучение | Заменить обивку (в сервисе)| соблюдать условия эксплуатации |
Если после проверок проблема не исчезла — не экспериментируйте. Доверьте ремонт специалистам. Скрывать не стоит: самостоятельный ремонт лишает гарантии.
Гарантия 2 года: условия покрытия и контакты производителя
Что покрывает гарантия
Изготовитель гарантирует нормальную работу Бюрократ Zombie 8 в течение 24 месяцев с даты покупки. Покрытие: дефекты материалов и сборки. Не покрывает: механические повреждения, износ обивки при неправильном уходе, последствия перегрузки.
Важно: сохраняйте чек и упаковку. Без них гарантийный ремонт могут отказать. По факту.
Декларация соответствия и контакты
- 📄 Декларация: ЕАЭС N RU Д-RU.PA01.B.84046/21
- 🌐 Подробная информация: www.buro.ru
- ✅ Срок службы изделия: 3 года
Дата изготовления указана на упаковке. Это важно при обращении по гарантии.
Долгосрочная эксплуатация: как продлить срок службы кресла
Привычки, которые берегут мебель
Не вставайте с кресла рывком — это нагружает газлифт. Не крутитесь на месте, упираясь ногами в пол — это расшатывает крестовину. Не ставьте на подлокотники тяжёлые предметы — пластик может треснуть.
- ✔️ Раз в неделю протирайте кресло от пыли
- ✔️ Раз в месяц проверяйте крепёж
- ✔️ Раз в полгода смазывайте подвижные узлы
Простые действия, которые продлевают жизнь креслу в разы. Проверено.
Когда пора задуматься о замене
Срок службы — 3 года. Это не значит, что после этого кресло «умрёт». Но если появились множественные дефекты, ремонт может стоить дороже нового изделия. Логично?
В общем: следите за состоянием, реагируйте на первые признаки износа — и Бюрократ Zombie 8 прослужит долго. Это того стоит.

