Автомобильный компрессор Xiaomi Air Pump 2 оснащен функциями установки и контроля давления, обеспечивая автоматическое накачивание шин, надувных изделий и спортивного инвентаря. Цифровой дисплей и удобные кнопки управления позволяют легко регулировать параметры. Устройство способно за минуту накачать один футбольный мяч. Встроенный фонарь обеспечивает освещение в темноте и труднодоступных местах. Аккумуляторное питание гарантирует автономную работу в любых условиях. В комплект входят игла для накачивания мячей и чехол для удобного хранения и транспортировки.
Другие названия модели: Xiaomi Mijia Electric Pump 2, MJCQB06QW, Портативный электрический насос
Автомобильный насос Wireless Air Pump 2 Инструкция на русском языке
❗👉➨ Предупреждение
Прочитайте все предупреждения по технике безопасности и все инструкции. Несоблюдение предупреждений и инструкций может привести к поражению электрическим током, пожару и / или серьезным травмам. Сохраните все предупреждения и инструкции для дальнейшего использования.
.
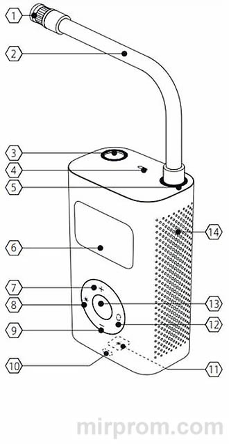
Обзор устройства
❗👉➨ Примечание: Иллюстрации изделия, его деталей и пользовательского интерфейса в данном руководстве пользователя приведены только для справки.
Описание частей
1. Клапан шредера
2. Воздушный шланг высокого давления
3. Отсек для шланга
4. Световая индикация
5. Соединение воздушного шланга
6. Дисплей
7. Кнопка +
8. Кнопка включения и выключения
9. Кнопка -
10. Индикатор уровня батареи
11. Разъем для зарядки
12. Кнопка режима
13. Кнопка стартка/стопки
14. Отверстие для отвода тепла
Аксессуары
1. Адаптер клапана Presta x 1
2. Адаптер клапана Presta Needle x 1
3. Кабель для зарядки x 1
4. Сумка для хранения x 1
Инструкции по технике безопасности
Насос имеет уровень шума в 75 децибел. Пожалуйста, примите соответствующие меры предосторожности для защиты вашего слуха. Насос и воздушный шланг могут очень сильно нагреться после некоторого времени работы. Не прикасайтесь к горячим поверхностям, пока они не остынут. Этот продукт не игрушка и не должен использоваться детьми.
1. Индикатор уровня заряда батареи и зарядки
Индикатор уровня батареи
Индикатор уровня заряда батареи имеет разные цвета, чтобы показать оставшийся уровень заряда батареи насоса:
Белый: более 50%
Оранжевый: от 20% до 50%
Красный: менее 20%, зарядите как можно скорее
Зарядка
Полностью зарядите насос перед первым использованием.
Подключите зарядный кабель к сертифицированному зарядному устройству USB 5.0V 2.0A (продается отдельно) для зарядки насоса.
Индикатор уровня заряда батареи во время зарядки:
Мигающий белый: заряжается
Белый: аккумулятор полностью заряжен
❗👉➨ Примечание: Насос нельзя использовать во время зарядки.
2. Включение насоса
Вытащите воздушный шланг высокого давления из отсека, после чего насос автоматически включится.
Если насос не используется в течение 3 минут, он автоматически выключается.
Если насос автоматически выключается при удалении воздушного шланга, нажмите и удерживайте кнопку Старт/Стоп, чтобы снова включить насос.
3. Соединение шланга высокого давления с форсункой
Клапан Шредера
Для шин автомобилей, мотоциклов, байков, а также большинства горных велосипедов используются клапаны Шредера.
Для накачивания: насос можно напрямую соединить с клапаном Шредера для начала накачивания.
Для выпуска воздуха: используйте соответствующий инструмент, чтобы нажать на штифт воздушного клапана и выпустить воздух.
Адаптер клапана Presta Needle
Для накачивания мячей, таких как баскетбольные и футбольные, необходимо использовать прилагаемый переходник игольчатого клапана.
Для накачивания: привинтите переходник игольчатого клапана к переходнику клапана Шредера, затем вставьте иглу в клапан мяча, чтобы начать накачивание.
Для выпуска воздуха: вставьте переходник игольчатого клапана в клапан мяча и осторожно надавите на него, чтобы выпустить воздух.
Адаптер клапана Presta
Дорожные велосипеды и некоторые горные модели используют клапан Presta, для которого требуется прилагаемый адаптер.
Для накачивания: отвинтите кольцо клапана Presta, прикрепите переходник к воздушному шлангу и подключите насос к клапану шины, чтобы начать накачивание. После накачивания закрутите кольцо клапана обратно.
Для выпуска воздуха: открутите кольцо клапана Presta и нажмите на шток клапана, чтобы выпустить воздух.
4. Определение давления воздуха
Текущее давление будет автоматически отображаться после подключения воздушного шланга к элементу, когда насос включен.
5. Определение правильного давления воздуха
Чтобы обеспечить безопасность и предотвратить травмы в результате разрыва предметов из-за чрезмерного накачивания, всегда обращайтесь к инструкциям или соответствующим указаниям, прилагаемым к предмету, который необходимо накачать, перед тем, как накачивать его, чтобы определить правильное давление.
Шины
Рекомендуемое давление в шинах автомобилей, велосипедов и мотоциклов указано на боковой стороне шины. Для автомобилей эта информация также размещена на двери со стороны водителя.
Для получения подробных сведений о грузоподъемности и рекомендуемом давлении воздуха обратитесь к инструкции или руководству по эксплуатации вашего автомобиля.
Мячи
Рекомендуемое давление воздуха для футбольных, баскетбольных, волейбольных и других мячей указано рядом с воздушным клапаном.
Справочная таблица давления воздуха
| Категория | Тип | Рекомендуемый диапазон давления |
|---|---|---|
| Велосипеды | 12-, 14- и 16-дюймовые велосипедные шины | 30 - 50 psi |
| 20-, 22- и 24-дюймовые велосипедные шины | 40 - 50 psi | |
| Шины Электрический самокат Mi | 40 - 50 psi | |
| 26-, 27.5- и 29-дюймовые шины для горных велосипедов | 45 - 65 psi | |
| Клинчерные шины для дорожного велосипеда 700с | 100 - 130 psi | |
| Однотрубные шины для дорожного велосипеда 700с | 120 - 145 psi | |
| Мотоциклы | Шины для скутеров и уличных мотоциклов | 1,8 - 3,0 bar |
| Автомобили | Автомобильные шины | 2,2 - 2,8 bar |
| Мячи | Баскетбол | 7 - 9 psi |
| Соккер | 8 - 16 psi | |
| Волейбол | 4 - 5 psi | |
| Футбол | 12 - 14 psi |
❗👉➨ Примечание: Значения диапазона давления приведены только для справки. Всегда обращайтесь к инструкциям или руководству по накачиваемому элементу для получения информации о фактических значениях давления. (Данные выше взяты у лаборатории QiCycle.)
6. Предустановки давления
Переключение режимов
Нажмите кнопку «Режим», чтобы переключиться между пятью режимами накачивания. Выберите предпочтительную единицу измерения давления воздуха перед надуванием. Нажмите и удерживайте кнопку режима для переключения между фунтами на квадратный дюйм (psi) и бар.
Ручной режим: заданная пользователем предустановка давления (значение давления и единица измерения будут сохранены)
Регулируемый диапазон: 3 - 150 фунтов на квадратный дюйм(psi)
Велосипедный режим: по умолчанию 45 фунтов на квадратный дюйм(psi)
Регулируемый диапазон: 30 - 65 фунтов на квадратный дюйм(psi)
Режим мотоцикла: по умолчанию 2,4 бар
Регулируемый диапазон: 1,8 - 3,0 бар
Режим автомобиля: по умолчанию 2,5 бар
Регулируемый диапазон: 1,8 - 3,5 бар
Режим мяча: по умолчанию 8 фунтов на квадратный дюйм(psi)
Регулируемый диапазон: 4 - 16 фунтов на квадратный дюйм(psi)
Регулировка предустановленного давления
После выбора режима нажмите + или -, чтобы увеличить или уменьшить предварительно установленное значение давления. Нажмите и удерживайте кнопку + или -, чтобы быстро отрегулировать значение давления.
При настройке заданного давления мигающее значение указывает целевое давление, а не мигающее значение указывает давление в реальном времени
Световая индикация
Нажмите кнопку включения / выключения подсветки, чтобы включить или выключить подсветку насоса. Свет позволяет легко видеть в темноте, когда у вас есть какиелибо операции, например, подключение воздушного компрессора к клапану.
7. Накачивание
Начало накачивания
Нажмите кнопку Старт / Стоп, чтобы начать накачивание. Текущее давление отображается в режиме реального времени при накачивании. При накачивании насос может быть громким, как 75 - 80 дБ. Пожалуйста, примите соответствующие меры предосторожности для защиты вашего слуха. Насос и воздушный шланг могут очень сильно нагреться после некоторого времени работы. Избегайте длительного контакта кожи со шлангом во избежание травм.
Завершение накачивания
Как только заданное значение давления будет достигнуто, воздушный компрессор автоматически прекратит накачивание. Насос также может быть остановлен вручную в любое время при накачивании, нажав один раз кнопку Старт / Стоп.
❗👉➨ Внимание!
Такие предметы, как воздушные шары, пляжные мячи и плавательные кольца, не могут быть автоматически надуты, поскольку они требуют давления воздуха ниже минимального диапазона давления насоса.
Надувайте эти предметы вручную с осторожностью.
Информация о батарее
Аккумулятор насоса работает около 30 минут при полной зарядке без нагрузки при температуре окружающей среды 25 °C. Использование насоса под большой нагрузкой или при более низкой температуре окружающей среды может сократить срок его службы батареи.
8. Отсоединение воздушного шланга
Воздушный шланг насоса может очень сильно нагреться после накачивания. Во избежание травм соблюдайте осторожность при отсоединении его от клапана.Некоторое количество воздуха может выйти из клапана при отсоединении воздушного компрессора.
Чтобы избежать потери давления, быстро отсоедините воздушный шланг от клапана.
9. Выключение насоса
Вставьте воздушный шланг обратно в отсек для хранения, чтобы вык лючить насос. Нажмите и удерживайте кнопку «Пуск / Стоп», когда насос включен. Если насос не используется в течение 3 минут, он автоматически выключается.
Меры предосторожности
Техническое обслуживание и сервис
1. Регулярная чистка, техническое обслуживание, метод поддержания острых инструментов и смазка, заряжайте не реже одного раза в три месяца.
2. Обслуживание производителем или агентом.
3. Перечень заменяемых пользователем деталей (воздушный шланг высокого давления и клапан Шредера, адаптер клапана Presta, адаптер игольчатого клапана и зарядный кабель).
4. Специальные инструменты, которые могут потребоваться, не разбирайте и не ремонтируйте самостоятельно.
......
Устранение неполадок
Низкая скорость накачивания
1. Проверьте, достаточный ли уровень заряда батареи насоса.
2. Проверьте, не протекает ли воздушный шланг.
3. Проверьте, надежно ли соединены оба конца воздушного шланга.
4. Проверьте, не протекает ли надуваемый предмет.
Насос включается, но не дует
1. Проверьте, не удален ли воздушный шланг из его отсека, прежде чем надувать.
2. Проверьте, достаточен ли уровень заряда батареи насоса.
3. Проверьте, не превышает ли давление накачиваемого предмета предварительно установленное давление.
Невозможно увеличить или уменьшить заданное давление
Убедитесь, что на насосе установлен правильный режим. Ручной режим имеет пустой дисплей без каких-либо значков и позволяет регулировать предварительно установленное значение в диапазоне 3 - 150 фунтов на квадратный дюйм (psi).
Насос накачивает нормально, но отображаемоvе давление равно нулю
Давление на дивных устройствах низкого давления, включая воздушные шары, слишком низкое для измерения.
Насос уже отключился после подключения воздушного шланга к клапану
Нажмите и удерживайте кнопку «Пуск / Стоп», чтобы снова включить насос.
Утечка воздуха при подсоединении воздушного шланга
Убедитесь, что воздушный шланг надежно подключен
Цвет индикатора уровня заряда батареи отличается при накачивании по сравнению с режимом ожидания
Уровень напряжения литиевой батареи значительно падает при разряде, в результате чего индикатор уровня заряда батареи имеет разный цвет при накачивании по сравнению с режимом ожидания. Это нормально.
Технические характеристики
Наименование: Портативный электрический насос Mi Модель: MJCQB02QJ
Размеры: 124 x 71 x 45,3 mm (Воздушный компрессор, за исключением воздушного шланга)
Диапазон давления: 0,2 - 10,3 bar / 3 - 150 psi
При накачивании: Зарядка: 0 °C ~ 45 °C
Рабочая температура: Разрядка: -10 °C ~ 45 °C, Разрядка: -10 °C ~ 45 °C
Температура хранения: -10 °C ~ 45 °C
Размеры воздушного шланга: Длина воздушного шланга 180 мм (включая переходник клапана Шредера и исключая резьбу)
Удлинитель для клапана: Адаптер клапана Шредера: 11 x 20 мм, Переходник клапана Presta: 11 x 15 мм
Емкость батареи: 2000 mAh (14,8 Wh)
Уровень шума: Менее 80 дБ на расстоянии 1 м
Адаптер питания: 5 V 2 A
Разъем для зарядки: Micro - USB
Время зарядки: ‹ 3 часа
Точность датчика: ±2 psi

