Регулируемый настенный термостат NTL-001D (аналог TR110K) разработан специально для поддержания заданной температуры в помещении путем автоматического коммутирования электрической цепи. Обеспечивает комфорт в системах вентиляции и кондиционирования. Автоматика этих пультов поддерживает оптимальные параметры температуры, влажности, снижает уровень шума и минимизирует энергозатраты. Пульты с микропроцессорным управлением позволяют легко регулировать настройки комфорта в помещениях. NTL-001D имеет улучшенный дизайн и электронику, что делает установку проще, а использование удобнее. Обновленная конструкция повышает надежность и комфорт использования.
Другие названия модели: Sigma WSK-7D, Термостат для фанкойла T6375B1286, WSK-7C, Clima Esperto, АRC 24, KET WSK-7, PTUF-24, RC-19, TR110K, Carrier WSK-7D
Назначение
Регулируемый настенный термостат NTL-001D предназначен для поддержания заданной температуры в помещении путем автоматического коммутирования электрической цепи. Принцип работы термостата основан на физическом явлении изменения объема воздуха в температурном датчике при изменении его температуры. При изменении объема воздуха происходит воздействие на мембрану внутри температурного датчика, которая воздействует на электрический контакт. Термостат не имеет собственного энергопотребления.
Термостат NTL-001D представляет собой электромеханический прибор, который спроектирован для контроля температуры воздуха в помещении путем управления двигателем вентилятора и клапанами с электроприводом в системах охлаждения и обогрева воздуха. Предназначен для управления фанкойлами и тепловыми завесами любых марок.
Механический термостат NTL-001D обеспечивает комфорт в помещениях, регулируя температуру, влажность и качество воздуха. Автоматика снижает шум и энергозатраты. Пульты с микропроцессорным управлением позволяют задавать персональные параметры комфорта, поддерживая систему кондиционирования на высоком уровне.
Настенный термостат управления фанкойлом NTL-001D поддерживает индивидуальные настройки температуры в каждом помещении. Управление осуществляется через механический регулятор. Пульты можно устанавливать на стене. Функции: включение/выключение, термостат, 3 скорости, зима-лето.
Пульт оснащён поворотной ручкой для регулировки температуры в диапазоне 10–30°C и выбора скорости вентилятора, которая также служит для включения/выключения фанкойла. Есть две кнопки: переключение между охлаждением и обогревом и активация экономичного режима. Три светодиода-индикатора отображают режимы охлаждения, нагрева и экономичного режима.
.
Особенности термостата
Технические характеристики
Питание: ~110-220 В, 50/60 Гц Потребляемая мощность: ‹2 Вт
Дифференциал: ‹1°C
Диапазон установки температуры: от +10 до +30 °С
Температура хранения при влажности ‹92%: ?20…+55 °C
Колодка для подключения проводов с максимальным диаметром провода 1.5 мм
Температура транспортировки и хранения от -20 до 50 °С.

Управление
Вкл/Выкл: включение фанкойла осуществляется переключением ползунка центрального выключателя в положение ON. Для выключения фанкойла переведите выключатель в положение OFF.
Установка температуры осуществляется путем вращения центрального регулятора температуры.
Режим охлаждения: переведите левый выключатель в положение COOL.
Режим нагрева: переведите левый выключатель в положение HEAT.
Регулировка скорости вентилятора: переведите правый выключатель в необходимое положение, соответствующее нужной скорости вентилятора.
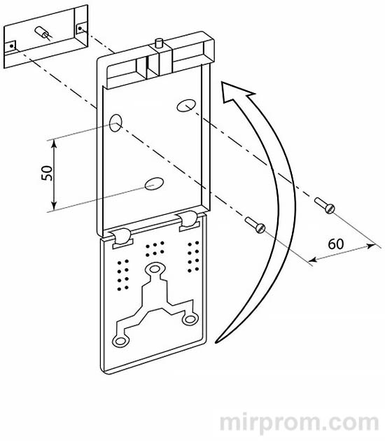
Инструкция по монтажу
....
❗👉➨ Рекомендуемая высота установки термостата не ниже 1.5 м. от пола. Не размещать вблизи выходных отверстий нагревательных/ охлаждающих установок, а также под прямыми лучами солнца.

Схема подключения термостата NTL-001D


