Актуальность разработки и внедрения новых высокоэффективных технологических процессов прецизионной алмазной обработки изделий и деталей из различных материалов связана с бурным развитием машиностроения, а именно приборостроения, микро- и оптоэлектроники. Эти отрасли предъявляют все более высокие требования к качеству изделий, производительности технологических процессов их изготовления и экологической безопасности. С одной стороны, это связано с тенденцией миниатюризации приборов микро- и оптоэлектроники, с другой — увеличением размеров плазменных и жидкокристаллических экранов и дисплейных панелей при одновременном уменьшении толщины этих изделий. Наконец, появляются принципиально новые разработки в указанных отраслях, требующие применения новых материалов и качественно новых требований к их обработке.
Предлагаемый шлифовально-полировальный инструмент и состав для его изготовления разработаны отечественными специалистами и запатентованы в России [1] и в ведущих странах мира [2].
Инструменты эффективно используются при обработке широкого круга материалов:
— любые типы стекла, включая кварцевое стекло;
— кварц монокристаллический;
— ситаллы;
— любые типы керамики;
— сапфир;
— карбид кремния;
— различные полупроводниковые материалы, в т. ч. кремний и арсенид галлия;
— различные металлы;
— различные породы камня.
— и др.
Классификация инструмента:
1. РТN (P — polish; T — tool; N — размер максимальной фракции используемого абразива);
2. РТNP1 и РТNP2 (P — polish; T — tool; N — размер максимальной фракции используемого абразива; P — porous; 1 — соотношение пор и твердой массы — 1:1; 2 — соотношение пор и твердой массы 2:1);
3. РРТN (P — polish; P — press; T — tool; N — размер максимальной фракции используемого абразива);
4. PPT (CeO2) (P — polish; P — press; T — tool; CeO2 — используемый абразив).
5. ВТNАР2 и ВТNАР3 (B — ballast; T — tool; N — размер максимальной фракции используемого абразива; А — вспомогательный абразив; P — porous; 2 — соотношение пор и твердой массы — 2:1; 3 — соотношение пор и твердой массы 3:1). Данная серия представляет собой балластный (вспомогательный) абразивный инструмент, не содержащий алмазных порошков, используемый в сочетании с инструментом вышеперечисленных серий. Балластный инструмент способствует самозатачиванию основного инструмента и обеспечивает повышение его режущей способности.
Пример расшифровки РТ50 Р1: пористый шлифовальный инструмент с зернистостью алмазного порошка 50/40 и с соотношением пор и алмазосодержащей массы 50:50%.
Все представленные инструменты имеют различные типы органических связок, адаптированных для конкретного обрабатываемого материала. В алмазосодержащих инструментах используются как монокристаллические искусственные и натуральные алмазные порошки с зернистостью от 200/160 до 0,5/0, так и поликристаллические порошки.
Инструмент серийно изготавливается и поставляется в виде таблеток диаметром 16 мм и высотой 7 мм. Однако по индивидуальным заказам размер может быть изменен. Общий вид шлифовального инструмента с таблетками серии РТ20 Р1 представлен на рис. 1, а микрофотография поверхности пористого алмазного инструмента РТ20 Р1 — на рис. 2.

Рис. 1. Фотография шлифовального инструмента с таблетками серии РТ20 Р1.

Рис. 2. Микрофотография поверхности пористого алмазного инструмента РТ20 Р1 (60х).
Одним из главных достоинств инструмента является возможность его использования практически на любом традиционном шлифовально-полировальном оборудовании для односторонней и двусторонней обработки.
На рис. 3 приведены примеры оборудования, на котором успешно работает инструмент серии РТN и РТNР1: а — станок для односторонней обработки дисплейных панелей; б — станок для двустороннего шлифования подложек из стекла, сапфира и кварца.

а) б)
Рис. 3. Общий вид станка для односторонней (а) и двусторонней обработки (б).
Наиболее эффективно представленный инструмент работает в сочетании со специальной смазочно-охлаждающей жидкостью (СОЖ) [3], поставляемой в виде концентрата. При подготовке Сож концентрат разбавляется водой в соотношении 1:100–1: 500.
Первоначально был разработан инструмент серии РТN, который хорошо зарекомендовал себя при обработке стекла. С появлением инструмента серии РТNР1 и РТNР2 возможности применения связанного алмазно-абразивного инструмента резко возросли. Например, пористый алмазный инструмент РТ100 Р1 практически все российские и многие зарубежные компании эффективно используют для обработки сапфира.
Попытки многих исследователей использовать различные типы связанного алмазного инструмента для шлифования кремниевых подложек, арсенида галлия, германия не давали желаемого результата, в том числе с применением инструмента серии РТN. Известные типы связанного алмазного инструмента предназначены для эксплуатации при высоких удельных давлениях от 0,03 до 0,15 МПа и высоких относительных скоростях обработки от 10 до 40 м/сек. Однако при обработке тонких деталей с относительной толщиной h/D < 1/100 такие режимы неприемлемы из-за значительных деформаций деталей в процессе обработки.
Разработанный новый инструмент серии РТNР1 и РТNР2 эффективно работает при низких удельных давлениях порядка 0,005–0,05 МПа и при низких скоростях — порядка 1–3 м/сек.
Помимо обеспечения необходимых удельных нагрузок в зоне обработки распределение алмазных элементов на поверхности дисков должно обеспечить формирование необходимой геометрии обрабатываемой поверхности. Кроме того, при обработке плоских поверхностей деталей на операциях шлифования стремятся, как правило, к получению плоской поверхности с минимальным отклонением от плоскостности.
В случае необходимости получения полированной поверхности с минимальными отклонениями поверхности от плоской формы возникают следующие трудности. Известно, что при длительном полировании поверхности, даже с использованием достаточно жестких полировальных материалов, на стадии предварительного полирования происходит более интенсивный съем материала на краях деталей, в результате чего после полирования плоской исходной шлифованной поверхности получают выпуклую поверхность (рис. 4а). Если же после шлифования получаем пластину с вогнутой поверхностью (рис. 4б), то после полирования за счет «заваливания» краев плоскостность улучшается и достигает минимальных отклонений от идеальной плоской поверхности.

Рис. 4. Схема изменения профиля плоской (а) и вогнутой (б) шлифованной. поверхности (штриховая линия) и после полирования (непрерывная линия).
Таким образом, для получения деталей с высокими требованиями к плоскостности при шлифовании следует получить заданную вогнутую поверхность. При этом величина задаваемой стрелы вогнутости будет определяться следующими факторами: размерами обрабатываемых деталей и временем их последующего полирования, которое, по существу, определяется состоянием поверхности детали после финишного шлифования и, в первую очередь, глубиной нарушенного слоя и формой поверхности.
Например, установлено, что при изготовлении фотошаблонных заготовок размером 102?102?2,5 мм оптимальное значение стрелы прогиба (вогнутости) после финишного шлифования должно составлять 2 мкм, а для заготовок размером 127?127?2,5 мм — 3 мкм. С этой целью плотность заполнения среднего ряда устанавливается выше в 1,02–1,2 раза. При этом максимальная глубина нарушенного слоя после финишного шлифования составляет 6–7 мкм.
Также надо отметить, что в данном изобретении закон расположения абразивных элементов обеспечивает равномерный износ инструмента в процессе эксплуатации. Это практически исключает периодическую правку инструмента, что характерно для притиров, работающих со свободным абразивом.
На рис. 5 представлена сравнительная зависимость эффективности работы двух типов инструмента: пористого РТ20 Р1 и монолитного РТ50. Как следует из приведенной графической зависимости, алмазный пористый инструмент с алмазным порошком фракции 20/14 имеет по сравнению с традиционным монолитным (непористым) инструментом с алмазным порошком 50/40 в 4 раза более высокую режущую способность. Это стало возможным благодаря резкому снижению удельного давления в зоне резания. Кроме того, шероховатость поверхности кремниевых подложек после обработки инструментом РТ20 Р1 составляет Ra=0,08 мкм, а при обработке инструментом РТ50—Ra=0,22 мкм.

Рис. 5. Зависимость съема материала при шлифовании инструментом РТ20 Р1 (1) и РТ50 (2).
Инструмент РТ5Р1 позволяет получить на операциях финишного шлифования кремниевой подложки шероховатость поверхности Ra?0,005–0,007 мкм и глубину нарушенного слоя менее 1 мкм. Это позволяет резко сократить время последующего полирования, что минимизирует отклонение плоскостности от заданной формы поверхности.
При использовании инструмента РТ20 Р1 на операции утонения кремниевых пластин со сформированными приборными кристаллами обеспечивается резкое снижение глубины нарушенного слоя. На рис. 6 представленымикрофотографии косых шлифов (1,50) кремниевой подложки после шлифования нерабочей стороны на станке MPS-2R300 фирмы G&N по традиционной технологии с помощью алмазного инструмента зернистостью 45 мкм (а) и с помощью инструмента РТ20 Р1 (б).

а) б)
Рис. 6. Микрофотографии косых шлифов (1,50) кремниевых подложек после шлифования нерабочей стороны на станке MPS-2R300 фирмы G&N по традиционной технологии с помощью инструмента зернистостью 45 мкм (а) и с помощью инструмента РТ20 Р1 (б).
Данный инструмент также эффективно работает при обработке широкого класса материалов, в частности, полупроводниковых материалов и некоторых металлов.
Для каждого материала необходимо было определить оптимальный тип инструмента, а также определить оптимальные технологические режимы обработки.
В частности, на операции грубого шлифования латуни Л63 оптимальным оказался связанный пористый алмазный инструмент на органической связке марки РТ200 Р1. Зависимость скорости съема латуни Л63 от времени шлифования инструментом РТ200 Р1 при различных удельных давлениях представлены на рис. 7.

Рис. 7. Зависимость скорости съема латуни Л63 от времени шлифования инструментом РТ200 Р1 при удельных давлениях: 1–0.0157, 2–0.0108, 3–0.0056 МПа.
Как следует из представленного графика, данный инструмент при различных удельных давлениях устойчиво работает в режиме самозатачивания и не засаливается. При этом достигалась шероховатость поверхности Ra=1.4 мкм.
Аналогично этот инструмент работает при грубом шлифовании алюминиевого сплава АМГ-6, различных марок нержавеющей стали, а также при обработке высокоуглеродистых сталей, в том числе стали У8.
На операциях тонкого шлифования перечисленных материалов лучшие результаты были получены при использовании пористого алмазного инструмента РТ20 Р1. Шероховатость поверхности материала АМГ-6 на операции тонкого шлифования составляет Ra=0,16 мкм, а при обработке стали У8 шероховатость поверхности достигает Ra=0,03 мкм.
На рис. 8 показаны микрофотографии (100х) и шероховатость поверхности фильеры из нержавеющей стали 12Х21 Н5 Т после обработки по традиционной технологии алмазной пастой (а) и инструментом РРТ5 (б).

а)

б)
Рис. 8. Микрофотография (100х) и шероховатость поверхности фильеры из нержавеющей стали 12Х21 Н5 Т после обработки по традиционной технологии алмазной пастой (а) и инструментом РРТ5 (б).
В таблице 1 приведены параметры обработки следующих металлов: высокоуглеродистая сталь У8, латунь Л63, нержавеющая сталь и алюминиевые сплавы АМг6 и Д16.


В таблице 2 приведены некоторые типы инструментов, рекомендуемых для обработки таких материалов, как стекло, сапфир, кремний, арсенид галлия, монокристаллический кварц, корундовая керамика, высокоуглеродистые стали У8 и Ст. 45, нержавеющая сталь, алюминий и его сплавы, медь и ее сплавы на операциях грубого, получистового и финишного шлифования, а также полирования.
Описанные типы связанного алмазно-абразивного инструмента нашли широкое практическое применение для прецизионной обработки различных материалов как в россии, так и за рубежом. В частности, практически все российские и многие зарубежные предприятия, связанные с обработкой сапфира, успешно используют на операциях грубого и тонкого шлифования инструменты РТ100 Р1 и РТ20 Р1.
Основные преимущества представленного инструмента по сравнению с известными типами связанного алмазного инструмента и свободного абразива:
— повышение производительности обработки
в 3–5 раз;
— уменьшение глубины нарушенного слоя до 10 раз;
— повышение качества обработки.
Описанные типы инструмента эффективно работают на операциях утонения приборных пластин из сапфира, кварца, керамики и др.
Было разработано оптимальное устройство для утонения приборных пластин [4], учитывающее все недостатки существующего оборудования, которое обеспечивает увеличение производительности процесса при одновременном увеличении выхода годных изделий и улучшении геометрических параметров пластин.
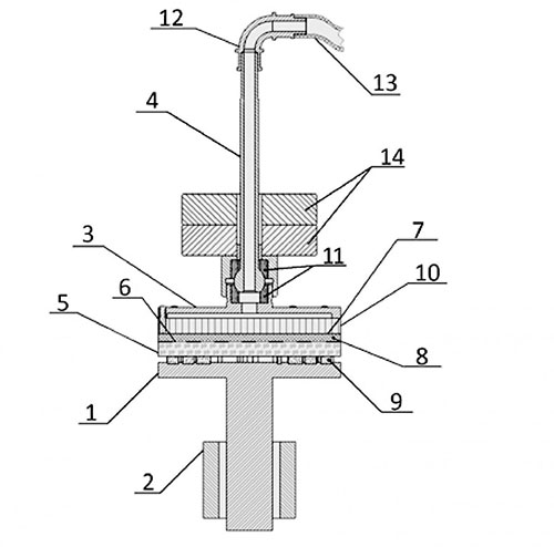
Устройство для одностороннего утонения пластин (рис. 9) включает шлифовально-полировальный стол 1 с приводом вращения 2, самоустанавливающийся шпин-дель 3 с шарнирно закрепленным устройством перемещения шпинделя 4. Шпиндель выполнен в виде планшайбы с зонами фиксации пластин 5 рабочей стороной 6 к поверхности планшайбы 7 через упруго-эластичную прокладку 8. При этом шлифовально-полировальный стол выполнен в виде планшайбы с кольцевой зоной алмазноабразивных элементов 9, закрепленных на ее поверхности.

Рис. 9. Устройство для утонения пластин.
Кроме того, зоны фиксации пластин выполнены из материала 10 с микроотверстиями или порами для подачи вакуума через устройство перемещения шпинделя. Устройство перемещения шпинделя снабжено с одного конца вакуумно-плотными втулками 11, а с другого конца вращающимся вакуумно-плотным цанговым соединителем 12 с вакуумным шлангом 13. На устройстве перемещения шпинделя 4 соосно размещено устройство 14 для обеспечения относительной нагрузки обрабатываемой пластины 5 и алмазного инструмента 9. В частности, устройство нагружения 14 может быть выполнено в виде съемных грузов (рис. 8).
Особенностью данного устройства, которое отличает его от всех остальных, является то, что в качестве шлифовально-полировального стола используется инструмент, выполненный в виде кольцевой зоны из связанных алмазно-абразивных элементов в виде таблеток. Это обеспечивает повышение производительности процесса и улучшение качества обработки поверхности пластин за счет уменьшения глубины нарушенного слоя и улучшения геометрических параметров обрабатываемой поверхности пластин. Кроме того, использование такого инструмента в сочетании с применением упруго-эластичных прокладок при фиксации обрабатываемых пластин обеспечивает улучшение геометрических параметров пластин. Это происходит за счет уменьшения удельных нагрузок в зоне обработки, равномерного распределения нагрузки по поверхности пластин, исключения деформации пластин при их вакуумной фиксации и исключения операции приклеивания пластин.
ЗАКЛЮЧЕНИЕ
В данной работе особое внимание было уделено особенностям алмазной обработки тонких прецизионных пластин из стекла, сапфира, кремния и некоторых металлов с относительной толщиной h/D ? 1/50 с повышенными требованиями к геометрической форме и чистоте обрабатываемой поверхности.
Описаны новые составы алмазного инструмента на органических связках, обеспечивающие его эффективную работу в режиме самозатачивания при низких удельных нагрузках и низких скоростях обработки.
Приведены примеры эффективного внедрения технологий алмазной обработки различных материалов с применением новых типов инструмента. Более подробную информацию можно получить в работе [5].
Кондратенко Владимир Степанович, д. т.н., профессор
директор Института высоких технологий МГУПИ
e-mail: vsk1950@mail.ru
Кобыш Алина Николаевна, к. т.н.
доцент Института высоких технологий МГУПИ
e-mail: ank-78@mail.ru
Рогов Александр Юрьевич
заместитель директора по инновационному развитию
Института высоких технологий МГУПИ
e-mail: ray40@yandex.ru
Литература:
- Патент РФ № 2169657. Шлифовальный инструмент и масса для его изготовления/Кондратенко В. С. — 2000–06–27.
- Patent US 6,875,099. Polishing tool and a composition for producing said tool/Kondratenko Vladimir S. — 2005–04–05.
- Патент РФ № 2475522 по заявке № 2011150867 от 14.12.2011; Опубл. 20.02.2013. Смазочно-охлаждающая жидкость для механической обработки стекла и других материалов / В. С. Кондратенко, Н. И. Кобыш.
- Патент РФ № 2478463 по заявке № 2011150868 М.Кл.5 В24 В 37/04 от 14.12.2011. Опубликован 10.04.2013. Устройство для одностороннего утонения пластин/С. Д. Айзенштат, И. В. Голубятников, В. С. Кондратенко, Н. И. Кобыш.
- Кондратенко В. С. Алмазная обработка материалов. Монография. — М.: Машиностроение, 2010. — 191 с.
<"

